サイト内検索

アナログ・デバイセズ 注目製品

今月の注目製品 概要

アナログ・デバイセズでは、新規設計において有用な特長を備えた製品を数多く提供しています。

本ページでは、その中から 特長や用途が明確で、設計検討時に知っておく価値のある製品 を「今月の注目製品」として紹介します。
2026年4月は、以下の2製品を取り上げます。

 ・電流入力を高速・高精度にデジタル化する ADA4356
 ・高度な診断機能を備えたクワッド・ソレノイド / モータードライバー MAX22216

注目製品①:ADA4356

製品概要

ADA4356 は、電流入力に対応した A/D コンバーター μModule です。

トランスインピーダンス・アンプ (TIA)、アナログ・フィルター、14ビット ADC を 1パッケージに集積し、電流信号を直接デジタルデータへ変換することができます。小型フォームファクターでありながら、高速サンプリングに対応しています。

ADA4356製品イメージ、ブロック図

主な特長

・プログラマブル・ゲイン・トランスインピーダンス・アンプ (PGTIA) 内蔵
・14ビット、最大 125MSPS の A/D コンバーターを内蔵
・1MHz または 100MHz のアナログ・ローパス・フィルターを内蔵
・電流入力に直接対応(外付け回路の簡素化が可能)
・小型 BGA パッケージ (12mm × 6mm)
・単一 3.3V 電源で動作

設計上のメリット

ADA4356 は、電流入力信号を扱う設計において、以下の点で設計をシンプルにします。
・TIA、フィルター、ADC を個別に構成する必要がなく、部品点数を削減できる
・ゲインやフィルター帯域を内蔵機能で設定でき、設計調整の工数を抑えやすい
・高速パルス入力に対応しており、高速応答が求められる測定系に適用しやすい

想定アプリケーション

・Time of Flight (ToF)
・電流からビットへの変換
・レンジ・ファインダー
・光ファイバー・センシング
・光時間領域反射率測定 (OTDR)

関連情報・購入情報

ADA4356 製品情報(メーカーサイト)
評価ボード:EVAL-ADA4356EBZ(メーカーサイト)
ADA4356 購入情報(Macnica-Mouser サイト)
評価ボード:EVAL-ADA4356EBZ 購入情報(Macnica-Mouser サイト)

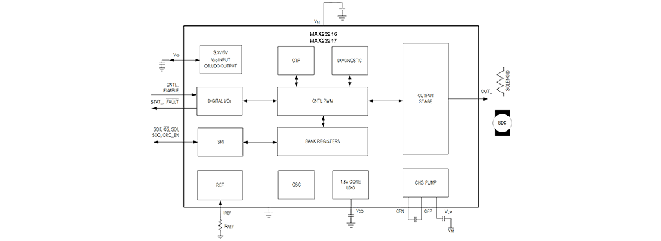
注目製品②:MAX22216

製品概要

MAX22216 は、36V 対応のハーフブリッジを 4つ内蔵した、クワッド・スマート・シリアル制御ドライバーです。主にソレノイド、DCモーター、リレーなどの誘導性負荷の駆動を目的として設計されており、高度な診断機能を内蔵しています。

MAX22216 ブロック図

主な特長

・シリアル制御の 36V ハーフブリッジを 4チャンネル内蔵
・ハーフブリッジあたり最大 3.2A フルスケール電流に対応
・電圧駆動・電流駆動の両モードをサポート
・内蔵電流検出機能
・高度な診断機能(動作時間測定、開放負荷検出など)
・過電流保護、過熱保護、低電圧ロックアウト機能を内蔵

設計上のメリット

MAX22216 は、駆動回路に加えて状態監視・診断機能を内蔵している点が特長です。
・駆動回路と診断回路を個別に構成する必要がなく、回路構成を集約できる
・内蔵電流検出および診断機能により、外付けセンサーや追加 IC を削減できる
・SPI 制御および OTP 設定により、システム構成に応じた柔軟な制御が可能

想定アプリケーション

・ソレノイド・オンオフ・バルブおよびリレー
・DC モーター
・比例バルブ
・双安定ラッチ・ソレノイド・バルブ
・リアルタイム電流測定機能付きスイッチング・ドライバー
・デジタル出力インターフェース
・電気機械式モーターブレーキ

関連情報・購入情報

MAX22216 製品情報(メーカーサイト)
評価ボード:MAX22216EVKIT(メーカーサイト)
MAX22216 購入情報(Macnica-Mouser サイト)
評価ボード:MAX22216EVKIT 購入情報(Macnica-Moser サイト)

注目製品一覧

毎月紹介している注目製品の一覧は以下よりご確認いただけます。
アナログ・デバイセズ 注目製品一覧

お問い合わせ / お見積もり

本製品に関してご質問、お見積もりをご希望の方は以下よりお問い合わせください。

アナログ・デバイセズ メーカー情報 Top へ

アナログ・デバイセズ メーカー情報 Top ページへ戻りたい方は、以下をクリックください。